تثبيت مفتاح المنسوب الدوار Installation of Rotary Paddle Level Switch
أنواع الريش Types of Paddle
قد يكون الجزء الدوار مكون من ريش ثابتة Fixed blades أو ريش متحركة قابلة قابلة للطي Collapsible Paddle أو Foldable Paddle .
![]() |
![]() |
| ريش ثابتة Fixed blades | ريش قابلة للطي Collapsible Paddle أو Foldable Paddle |
وقد يكون الجزء الدوار مكون من ريشة واحدة Single Vane (Blade) Paddle أو ريشتين Double Vane (Blades) Paddle أو ثلاث 3 Vane (Blades) Paddle أو أربعة 4 Vane (Blades) Paddle .

شكل رقم ( 6 ) : الريش إما أحادية أو ثنائية أو ثلاثية أو رباعية
تركيب الجهاز Installation
سنتهتم أكثر بشرح فكرة تركيب النوع ذو الريش القابلة للطي , حيث يمتاز بسهولة تركيبه عبر أي منفذ ضيق في الخزان .

شكل رقم ( 7 ) : محاكاة لفكرة وخطوات التركيب Installation
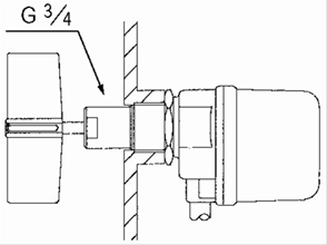
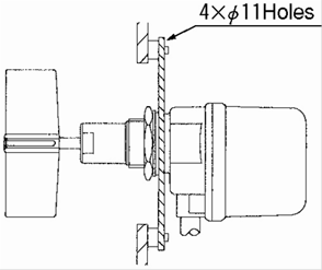
يمكن تثبيت المفتاح الدوار بإحدي الطرق التالية:
|
It can be installed by one of the following methods:
|
![]() |
|
![]() |
![]() |
![]() |
![]() |
| شكل رقم ( 8 ) : طرق تثبيت المفتاح Installation Methods | |

شكل رقم ( 9 ) : مواضع تثبيت المفتاح الدوار
تنبيهات التثبيت
|
عند تركيب المفتاح في أعلي الخزان ، قم بتحديد أقصي زاوية انحدار للمادة المتاركمة في الخزان ثم ضع المفتاح في مكان منخفض بما يكفي للتأكد من تغطيته بالمادة عند امتلاء الخزان . |
Determine the maximum angle of repose for the material and locate the switch low enough to insure complete coverage of the paddle and shaft. |

شكل رقم ( 10 ) : زاوية أقصي انحدار The Maximum Angle of Repose
|
عند توقع سقوط مواد ثقيلة أو كتل ، قم بتركيب مظلة أعلي الريشة الدوارة لحمايتها من الكسر وركب الجهاز علي ارتفاع كافي بما يضمن عدم وجوده في مكان مواد راكدة وغير متحركة . |
Heavy material surges or excessive loads are anticipated; install a protective shield above the paddle. Also, mount the unit high enough to prevent it from being surrounded by dead stock. |
![]() |
![]() |
| شكل رقم ( 11 ) : حماية الجهاز من سقوط المواد الثقيلة Install a Protective Shield | |

شكل رقم ( 11 ) : احذر مكان المواد الراكدة وغير المتحركة Dead Stock
التالية |
1 |
2 |
3 |
4 |
السابقة |

مواضيع ذات صلة
المبين الهيدروستاتيكي للمنسوب Hydrostatic Level Indicator
ملاحظة
إذا كان لديك اقتراح جيد ، فمن فضلك سجل اقتراحك في تعليق علي الموضوع .
مكتبة محاكاة الأجهزة











